PASO A PASO

1

Traslado

Paso 1

2

Descarga y acopio en obra

Paso 2

3

Montaje

Paso 3

4

Detalles de Montaje

Paso 4
Paso 4
Paso 4
Paso 4

5

Apuntalamiento

Paso 5

6

Hormigonado

Una vez conocido el destino y sobrecarga útil a utilizar se procede a calcular la carga total

Consumo capa de compresión

Cálculo en base a 4 cm. de capa de compresión con hormigón de piedra partida: 0,60 m3 de Hº H. 17 (3-3-1) por c/10 m2 de losa. Es recomendable colocar malla de repartición (en condiciones normales Ø 4,2. Para sobrecargas > a 335 Kg./m2 solicitar cálculo)

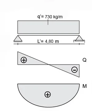
Ejemplo de cálculo

Cálculo-1

Calculo ej.: 4.80mts, carga total 730kg/m2 - sobrecarga útil 450kg

Dimensionamiento

Mmax = 182.5 kg/m × (4.80 m)² / 8

Mmax = 525.60 Kgm

H = 0.918 525.60 Kgm / 2.5 = 13.31 cm ≈ 15 cm

Z = 0.889 h → Fe = arm. ppal

Fe = 525.60 / 13.31 × 24 = 1.64 cm²

Capa de compresión: 5 cm

Necesidades de armadura

Fe nec. = 1.64 cm² → falta cubrir = 0.64 cm²

Armaduras seleccionadas A-420:
En vigueta: 2 Ø 8
Adicional: en valles 1 Ø 10

Cálculos-2

Armadura transversal en la capa de compresión

Con malla electro soldada: 1 Ø 6 15x15 cm
o bien con armadura A-420: 1 Ø 6 c/ 20 cm

Ejemplo:

Fe = 1.64 cm² → 2 Ø 8 = 1.78 cm²

Fe adic. = 1.78 - 1.64 = 0.14 cm²

1 Ø 10 en el nervio

Cálculos-3

Planilla tipo para la presentación y aprobación de planos: (ejemplo para L=4.00 m)

Cálculos-4

Tabla de Momentos y armaduras: q'= 500Kg/m2

Cálculos-5

7

Desapuntalamiento

Verificar el correcto fragüe del hormigón y retirar los puntales transcurridos al menos de 15 a 21 días.

8

Pintura

Paso 8

Por su excelente terminación no es necesaria la aplicación de enduído o cielorraso. Es apta para todo tipo de pinturas.